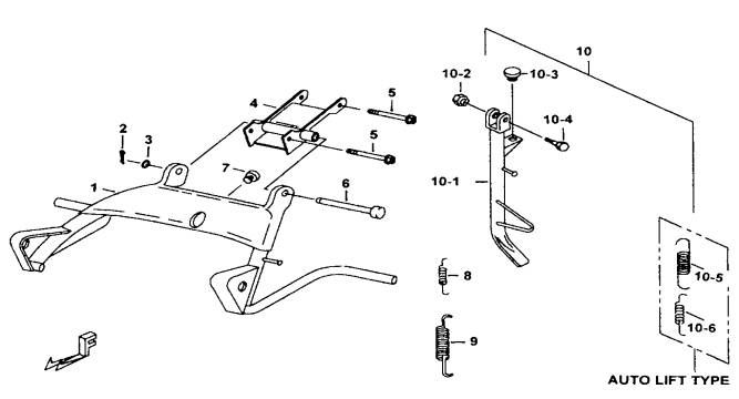
| 20 | STAND | BK9-U | |||||
|
|||||||
| ITEM NO. | PART NO. | DESCRIPTION | Q'TY | AMEND | NOTE | ||
| 01 | 412017 | STAND COMP., MAIN | 1 | ||||
| 02 | GA551PN04 | PIN, COTTER | 1 | ||||
| 03 | GA551WS02 | BOLT, BUTTON SOCKET HEAD | 1 | ||||
| 04 | 402159 | BRKT SET, MAINSTAND | 1 | ||||
| 05 | S20808 | BOLT, FLANGE | 2 | ||||
| 06 | GA551PN03 | SHAFT, MAIN STAND | 1 | ||||
| 07 | 401904 | DAMPER, RUBBER | 1 | ||||
| 08 | GA551SP04 | SPRING 9X107X1.4 | 1 | ||||
| 09 | GA551SP02 | SPRING 16X114X2.8 | 1 | ||||
| 10 | 410156 | STAND COMP., SIDE | 1 | ||||
| 10-1 | 402141 | SIDE STAND COMP. | 1 | ||||
| 10-2 | GA551NT02 | NUT, FLANGE SELRLOCK M10x10 | 1 | ||||
| 10-3 | GA551RB05 | CUSHION | 1 | ||||
| 10-4 | GA551SC03 | BOLT | 1 | ||||
| 10-5 | 402160 | SPRING, SIDE STAND | 1 | ||||
| 10-6 | 402161 | SPRING, SIDE STAND | 1 | ||||