| 16 |
SPEEDOMETER |
|
BR9-D |
|
|
| |
|
|
|
|
|
|
|
| |
|
|
|
| |
|
|
|
| |
|
|
|
| |
|
|
|
| |
|
|
|
| |
|
|
|
| |
|
|
|
| |
|
|
|
| |
|
|
|
| |
|
|
|
| |
|
|
|
| |
|
|
|
| |
|
|
|
| |
|
|
|
| |
|
|
|
| |
|
|
|
| |
|
|
|
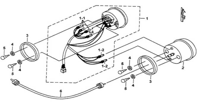
| ITEM NO. |
PART NO. |
DESCRIPTION |
Q'TY |
AMEND |
NOTE |
|
| 01 |
410199 |
GAUGE ASSY., FUEL LEVEL |
1 |
←001878 |
|
|
| 01-1 |
GA5520009 |
BULB (12V, 1.7W) |
3 |
|
|
|
| 01-2 |
410154 |
BULB, BLACK HEAD(12V,1.7W) |
3 |
|
|
|
| 01A |
411627 |
GAUGE ASSY., FUEL LEVEL |
1 |
001879→ |
|
|
| 01B |
457078 |
GAUGE ASSY., FUEL LEVEL (CHROMIUM PLATED) |
1 |
|
OPTION |
|
| 02 |
457104 |
SPEEDOMETER ASSY. |
1 |
←001878 |
|
|
| 02A |
457125 |
SPEEDOMETER ASSY. |
1 |
001879→ |
|
|
| 02B |
457126 |
SPEEDOMETER ASSY. (CHROMIUM PLATED) |
1 |
|
OPTION |
|
| 03 |
GE516RB01 |
PACKING, RUBBER |
2 |
|
|
|
| 04 |
W99602 |
WASHER 6.5X12X1.0 |
4 |
|
|
|
| 05 |
GA510SC01 |
SCREW, SOCKET HEAD M6X16 |
4 |
|
|
|
| 06 |
402127 |
CABLE ASSY., SPEEDOMETER |
1 |
|
|
|
| |
|
|
|
| |
|
|
|
| |
|
|
|
| |
|
|
|
| |
|
|
|
| |
|
|
|
| |
|
|
|
| |
|
|
|
| |
|
|
|
| |
|
|
|
| |
|
|
|
| |
|
|
|
| |
|
|
|
| |
|
|
|
| |
|
|
|
|
|
|
|
|
|
|
|
|
|