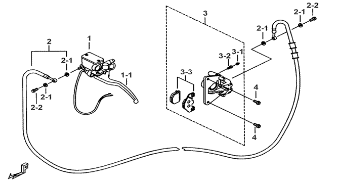
| 36 | CALIPER, MASTER CYLINDER(REAR)(FOR 13" RIM) | BM1-U | |||||
|
|||||||
| ITEM NO. | PART NO. | DESCRIPTION | Q'TY | AMEND | NOTE | ||
| 01 | 413502C | MASTER CYLINDER(CHROMIUM PLATED) | 1 | ||||
| 01-1 | 401020C | LEVER, HANDLE BAR, RH/LH (CHROMIUM PLATED) | 1 | ||||
| 02 | 413501 | HOSE ASSY., REAR BRAKE | 1 | ||||
| 02-1 | GA559WS04 | WASHER, 10.2X15X1.2t | 4 | ||||
| 02-2 | S21001 | BOLT M10X1.25X21L | 2 | ||||
| 03 | 413500 | CALIPER(REAR)(RED) | 1 | ||||
| 03-1 | GA559RB01 | CAP, GUARD | 1 | ||||
| 03-2 | GA559SC01 | BOLT, FLANGE | 1 | ||||
| 03-3 | GF5359902 | PAD ASSY. | 1 | ||||
| 04 | S20814 | BOLT, FLANGE | 2 | ||||