| 35 |
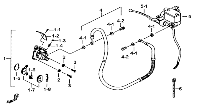
CALIPER, MASTER CYLINDER(FRONT)(FOR 13"
RIM) |
|
BM1-U |
|
|
| |
|
|
|
|
|
|
|
| |
|
|
|
| |
|
|
|
| |
|
|
|
| |
|
|
|
| |
|
|
|
| |
|
|
|
| |
|
|
|
| |
|
|
|
| |
|
|
|
| |
|
|
|
| |
|
|
|
| |
|
|
|
| |
|
|
|
| |
|
|
|
| |
|
|
|
| |
|
|
|
| |
|
|
|
| ITEM NO. |
PART NO. |
DESCRIPTION |
Q'TY |
AMEND |
NOTE |
|
| 01 |
413602RD |
CALIPER(RED) |
1 |
|
|
|
| 01-1 |
S43501 |
BOLT |
1 |
|
|
|
| 01-2 |
413607 |
DUST COVER |
1 |
|
|
|
| 01-3 |
GA559RB01 |
CAP, GUARD |
1 |
|
|
|
| 01-4 |
GA559SC01 |
BOLT, FLANGE |
1 |
|
|
|
| 01-5 |
413608 |
PLATE, WASHER |
1 |
|
|
|
| 01-6 |
413609 |
SPRING PLATE |
1 |
|
|
|
| 01-7 |
413610 |
PAD ASSY. |
1 |
|
|
|
| 01-8 |
413611 |
SPRING PLATE |
1 |
|
|
|
| 02 |
W99805 |
WASHER |
2 |
|
|
|
| 03 |
GA558SC03 |
BOLT, HEX. HEAD |
2 |
|
|
|
| 04 |
413626 |
HOSE ASSY., FRONT BRAKE |
1 |
|
|
|
| 04-1 |
GA559WS04 |
WASHER, 10.2X15X1.2t |
4 |
|
|
|
| 04-2 |
S21001 |
BOLT M10X1.25X21L |
2 |
|
|
|
| 05 |
413625C |
MASTER CYLINDER(CHROMIUM PLATED) |
1 |
|
|
|
| 05-1 |
401020C |
LEVER, HANDLE BAR, RH/LH (CHROMIUM PLATED) |
1 |
|
|
|
| 06 |
GA510SR01 |
CLAMP |
1 |
|
|
|
| |
|
|
|
| |
|
|
|
| |
|
|
|
| |
|
|
|
| |
|
|
|
| |
|
|
|
| |
|
|
|
| |
|
|
|
| |
|
|
|
| |
|
|
|
|
|
|
|
|
|
|
|
|
|