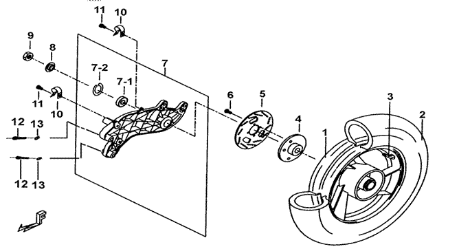
| 34 | REAR WHEEL (FOR 13" RIM) | BM1-U | |||||
|
|||||||
| ITEM NO. | PART NO. | DESCRIPTION | Q'TY | AMEND | NOTE | ||
| 01 | 413400AYPA | RIM COMP., REAR WHEEL 3.5-13 (AL)(BLACK)(POLISHED) | 1 | ||||
| 02 | 412900-S | TIRE 130/60-13 | 1 | ||||
| 03 | GF5299901 | INLET COMP., AIR | 1 | ||||
| 04 | 413416 | BASE, BRAKE | 1 | ||||
| 05 | 410200Y | DISC, BRAKE 220mm | 1 | ||||
| 06 | S72001 | SCREW, SOCKET | 4 | ||||
| 07 | 413415 | REAR FORK ASSY. | 1 | ||||
| 07-1 | 412918 | BEARING | 1 | ||||
| 07-2 | R01001 | RETAINER RING, C TYPE | 1 | ||||
| 08 | 412921 | COLLAR | 1 | ||||
| 09 | GA558NT03 | NUT, SELFLOCK M16X14 | 1 | ||||
| 10 | 413417 | CLAMP | 2 | ||||
| 11 | S20603 | BOLT, FLANGE M6X12 | 2 | ||||
| 12 | S70003 | SCREW, HEX. SCCKET | 2 | ||||
| 13 | GA556WS06 | WASHER, SPRING 10.2X3.7X2.5t | 2 | ||||