| 33 |
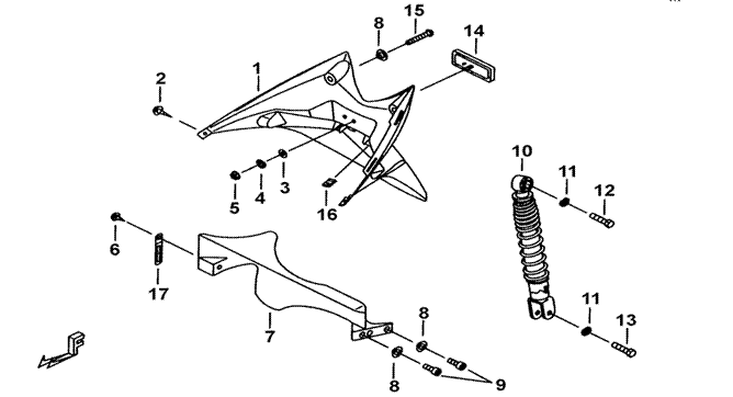
REAR FENDER |
|
BM1-U |
|
|
| |
|
|
|
|
|
|
|
| |
|
|
|
| |
|
|
|
| |
|
|
|
| |
|
|
|
| |
|
|
|
| |
|
|
|
| |
|
|
|
| |
|
|
|
| |
|
|
|
| |
|
|
|
| |
|
|
|
| |
|
|
|
| |
|
|
|
| |
|
|
|
| |
|
|
|
| |
|
|
|
| |
|
|
|
| ITEM NO. |
PART NO. |
DESCRIPTION |
Q'TY |
AMEND |
NOTE |
|
| 01 |
458020A |
FENDER, REAR |
1 |
|
|
|
| 02 |
GA552SC11 |
SCREW, TAPPING M4X16 |
2 |
|
|
|
| 03 |
GA552WS05 |
WASHER |
1 |
|
|
|
| 04 |
W10501 |
SPRING WASHER |
1 |
|
|
|
| 05 |
GA552NT05 |
NUT, FLANGE M5 |
1 |
|
|
|
| 06 |
S50506 |
SCREW, TAPPING |
1 |
|
|
|
| 07 |
458004 |
SPLASH BOARD |
1 |
|
|
|
| 08 |
GA556WS02 |
WASHER |
4 |
|
|
|
| 09 |
S70609 |
SCREW, SOCKET HEAD M6x16 |
2 |
|
|
|
| 10 |
410158 |
ABSORBER ASSY., SHOCK, REAR |
1 |
|
|
|
| 11 |
GA556WS06 |
WASHER, SPRING
10.2X3.7X2.5t |
2 |
|
|
|
| 12 |
GA556SC03 |
BOLT, HEX. HEAD M10X1.25X40L |
1 |
|
|
|
| 13 |
GA556SC04 |
BOLT, HEX. HEAD 10X34 |
1 |
|
|
|
| 14 |
458015 |
REFLECTOR ASSY., REAR |
1 |
|
|
|
| 15 |
S70618 |
BOLT M6X35 |
2 |
|
|
|
| 16 |
GA552NT01 |
NUT, SPRING M4 |
2 |
|
|
|
| 17 |
GA501SR01 |
CLAMP |
1 |
|
|
|
| |
|
|
|
| |
|
|
|
| |
|
|
|
| |
|
|
|
| |
|
|
|
| |
|
|
|
| |
|
|
|
| |
|
|
|
| |
|
|
|
| |
|
|
|
|
|
|
|
|
|
|
|
|
|