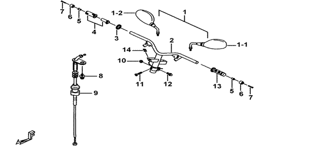
| 30 | HANDLE BAR | BM1-U | |||||
|
|||||||
| ITEM NO | PART NO | DESCRIPTION | Q'TY | AMEND | NOTE | ||
| 01 | 413063 | MIRROR ASSY., REAR VIEW | 1 | ||||
| 01-1 | 410152 | MIRROR, REAR VIEW, LH. | 1 | ←635001 | |||
| 01-1A | 414006 | MIRROR, REAR VIEW, LH. | 1 | 635002→ | |||
| 01-2 | 410153 | MIRROR, REAR VIEW, RH. | 1 | ←635001 | |||
| 01-2A | 414007 | MIRROR, REAR VIEW, RH. | 1 | 635002→ | |||
| 02 | 413060 | HANDLE BAR ASSY. | 1 | ||||
| 03 | 413912 | SEAL | 1 | ||||
| 04 | 413031 | GRIP ASSY., RH. | 1 | ||||
| 05 | 401801 | COLLAR | 2 | ||||
| 06 | 401802 | END, GRIP | 2 | ||||
| 06A | 413024 | END, GRIP (CHROMIUM PLATED) | 2 | ||||
| 07 | S35601 | SCREW, FLAT HEAD | 2 | ||||
| 07A | S35604 | SCREW, FLAT HEAD (CHROMIUM PLATED) | 2 | ||||
| 08 | GA557SC12 | SCREW, PAN HEAD M5X10 | 1 | ||||
| 09 | 413058 | CABLE, THROTTLE | 1 | ←629154 | |||
| 09A | 413068 | CABLE, THROTTLE | 1 | 629155→ | |||
| 10 | GA551NT01 | NUT, SELFLOCK M10X1.0 | 1 | ||||
| 11 | GA557SC02 | SCREW, FLAT HEAD M8X35 | 1 | ||||
| 12 | GA557SC01 | BOLT, FLANGE M10X43 | 1 | ||||
| 13 | 401827 | GRIP, LH. | 1 | ||||
| 14 | N32501 | NUT, SPRING M5 | 1 | ||||