| 24 |
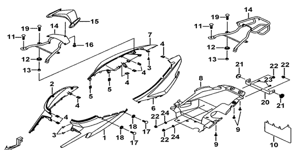
ADDITIONS OF SIDE COVER |
|
BM1-U |
|
|
| |
|
|
|
|
|
|
|
| |
|
|
|
| |
|
|
|
| |
|
|
|
| |
|
|
|
| |
|
|
|
| |
|
|
|
| |
|
|
|
| |
|
|
|
| |
|
|
|
| |
|
|
|
| |
|
|
|
| |
|
|
|
| |
|
|
|
| |
|
|
|
| |
|
|
|
| |
|
|
|
| |
|
|
|
| ITEM NO |
PART NO |
DESCRIPTION |
Q'TY |
AMEND |
NOTE |
|
| 01 |
453051 |
COVER, SIDE FRONT, LH. |
1 |
|
|
|
| 02 |
453052 |
COVER, SIDE FRONT, RH. |
1 |
|
|
|
| 03 |
S50401 |
SCREW TAPPING M4X12 |
3 |
|
|
|
| 04 |
GA552NT01 |
NUT, SPRING M4 |
11 |
|
|
|
| 05 |
N32501 |
NUT, SPRING M5 |
4 |
|
|
|
| 06 |
453053 |
COVER, SIDE REAR, LH. |
1 |
|
|
|
| 07 |
453054 |
COVER, SIDE REAR, RH. |
1 |
|
|
|
| 08 |
453055A |
BOTTOM PLATE |
1 |
|
|
|
| 09 |
GA552SC11 |
SCREW, TAPPING M4X16 |
6 |
|
|
|
| 10 |
453057 |
SPLASH APRON |
1 |
|
|
|
| 11 |
S20817 |
BOLT, FLANGE M8X16 |
2 |
|
|
|
| 12 |
402129 |
WASHER, RUBBER |
2 |
|
|
|
| 13 |
412409 |
SPACER |
2 |
|
|
|
| 14 |
412408 |
HANGER, HANDLE |
1 |
|
|
|
| 14A |
412407 |
CARRIER, TAIL (OPTION) |
1 |
|
|
|
| 15 |
453056 |
HANDLE |
1 |
|
|
|
| 16 |
S72605 |
BOLT, HEX HEAD M6X16 |
3 |
|
|
|
| 17 |
S72503 |
BOLT M5X16 |
4 |
|
|
|
| 18 |
W99525 |
WASHER |
4 |
|
|
|
| 19 |
S20802 |
BOLT, FLANGE |
2 |
|
|
|
| 20 |
453060 |
BRACKET |
1 |
|
|
|
| 21 |
453062 |
REFLECTOR, REAR |
2 |
|
|
|
| 22 |
GA554NT04 |
NUT, FLANGE M6xP1.0 |
4 |
|
|
|
| 23 |
GA555SC03 |
SCREW, AN HEAD M6X16 |
2 |
|
|
|
| 24 |
W99605 |
WASHER |
2 |
|
|
|
| |
|
|
|
| |
|
|
|
|
|
|
|
|
|
|
|
|
|