| 18 |
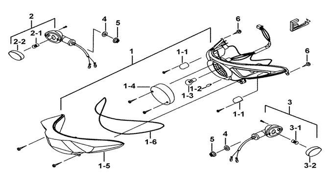
REAR LAMP CLUSTER |
|
BM1-U |
|
|
| |
|
|
|
|
|
|
|
| |
|
|
|
| |
|
|
|
| |
|
|
|
| |
|
|
|
| |
|
|
|
| |
|
|
|
| |
|
|
|
| |
|
|
|
| |
|
|
|
| |
|
|
|
| |
|
|
|
| |
|
|
|
| |
|
|
|
| |
|
|
|
| |
|
|
|
| |
|
|
|
| |
|
|
|
| ITEM NO. |
PART NO. |
DESCRIPTION |
Q'TY |
AMEND |
NOTE |
|
| 01 |
451029A |
REAR LAMP ASSY. |
1 |
|
|
|
| 01-1 |
451045 |
LENS |
2 |
|
|
|
| 01-2 |
400517 |
BULB 12V, 5W |
1 |
|
|
|
| 01-3 |
GF5180002 |
BULB 12V, P21/5W |
1 |
|
|
|
| 01-4 |
451044 |
LENS, REAR LAMP |
1 |
|
|
|
| 01-5 |
451043 |
LENS, REAR LAMP |
1 |
|
|
|
| 01-6 |
451046 |
GASKET |
1 |
|
|
|
| 02 |
451024 |
TURN SIGNAL LAMP COMP., LH. |
1 |
|
|
|
| 02-1 |
GF5170006 |
BULB, 12V, R10W |
1 |
|
|
|
| 02-2 |
451030 |
LENS, TURN SIGNAL LAMP., LH. REAR |
1 |
|
|
|
| 03 |
451025 |
TURN, SIGNAL LAMP COMP., RH. |
1 |
|
|
|
| 03-1 |
GF5170006 |
BULB, 12V, R10W |
1 |
|
|
|
| 03-2 |
451031 |
LENS, TURN SIGNAL LAMP., RH. REAR |
1 |
|
|
|
| 04 |
W99005 |
WASHER |
2 |
|
|
|
| 05 |
GA551NT02 |
NUT, FLANGE SELRLOCK
M10x10 |
2 |
|
|
|
| 06 |
S50401 |
SCREW TAPPING M4X12 |
2 |
|
|
|
| |
|
|
|
| |
|
|
|
| |
|
|
|
| |
|
|
|
| |
|
|
|
| |
|
|
|
| |
|
|
|
| |
|
|
|
| |
|
|
|
| |
|
|
|
| |
|
|
|
|
|
|
|
|
|
|
|
|
|