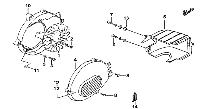
| 8 | COOLING FAN | BM1-U | |||||
|
|||||||
| ITEM NO. | PART NO. | DESCRIPTION | Q'TY | AMEND | NOTE | ||
| 01 | 427044 | FAN, COOLING | 1 | ||||
| 02 | S79602 | SCREW, SOCKET HEAD M6x16 | 4 | ||||
| 03 | S70609 | SCREW, SOCKET HEAD M6x16 | 4 | ||||
| 04 | GA608PL11 | COWLING, FAN | 1 | ||||
| 05 | 427002E | COWLING, CYLINDER ASSY. | 1 | ||||
| 06 | S71602 | SCREW, SOCKET HEAD M6x40 | 1 | ||||
| 07 | S71601 | SCREW, SOCKET HEAD M6X20 | 1 | ||||
| 08 | GA509SC02 | SCREW, TAPPING M6x20 | 4 | ||||
| 09 | GA509WS05 | WASHER 6X13X6 | 4 | ||||
| 10 | GE508PL14 | CASE, FAN | 1 | ||||
| 11 | 420009 | SPACER | 1 | ||||
| 12 | GA509SC20 | SCREW, TAPPING | 1 | ||||
| 13 | 427006 | WASHER | 1 | ||||
| 14 | GA501SR01 | CLAMP | 1 | ||||