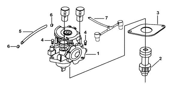
| 5 | OIL PUMP | BM1-U | |||||
|
|||||||
| ITEM NO | PART NO | DESCRIPTION | Q'TY | AMEND | NOTE | ||
| 01 | 425037 | PUMP ASSY., OIL | 1 | ←629154 | |||
| 01A | 425051 | PUMP ASSY., OIL | 1 | 629155→ | |||
| 02 | GA508PL01 | GEAR, OIL PUMP DRIVEN | 1 | ||||
| 03 | GA508PK02 | GASKET, OIL PUMP | 1 | ←629154 | |||
| 03A | GA508PK01 | GASKET, OIL PUMP | 1 | 629155→ | |||
| 04 | S79501 | SCREW, SOCKET HEAD M5x16 | 2 | ||||
| 05 | GA605PP02 | HOSE OIL | 1 | ||||
| 06 | R36501 | CLIP | 2 | ||||
| 07 | 425038 | THREE WAY CHECK VALVE ASSY. | 1 | ←633217 | |||