| 21 |
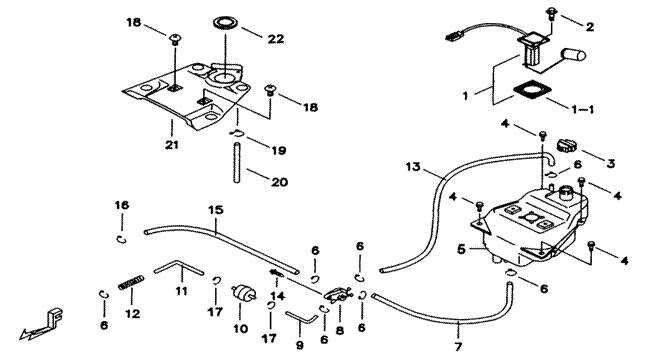
FUEL TANK |
|
|
BR1-D |
|
|
| |
|
|
|
|
|
|
|
| |
|
|
|
| |
|
|
|
| |
|
|
|
| |
|
|
|
| |
|
|
|
| |
|
|
|
| |
|
|
|
| |
|
|
|
| |
|
|
|
| |
|
|
|
| |
|
|
|
| |
|
|
|
| |
|
|
|
| |
|
|
|
| |
|
|
|
| |
|
|
|
| |
|
|
|
| ITEM NO. |
PART NO. |
DESCRIPTION |
Q'TY |
AMEND |
NOTE |
|
| 01 |
401813 |
GAUGE ASSY., FUEL LEVEL |
1 |
|
|
|
| 01-1 |
401710 |
GASKET |
1 |
|
|
|
| 02 |
S07501 |
BOLT,HEX HEAD |
4 |
|
|
|
| 03 |
402133 |
CAP COMP., FILLER |
1 |
|
|
|
| 04 |
GA555SC05 |
BOLT, OUTLET M6X1.0X16L |
4 |
|
|
|
| 05 |
412127 |
TANK, FUEL ASSY. |
1 |
|
|
|
| 06 |
R36801 |
CLIP ∮8.5 |
7 |
|
|
|
| 07 |
412113 |
HOSE |
1 |
|
|
|
| 08 |
GA5539902 |
COCK ASSY., FUEL |
1 |
|
|
|
| 09 |
GA553PP04 |
HOSE 5X8X90 |
1 |
|
|
|
| 10 |
GA5539904 |
FILTER, FUEL |
1 |
|
|
|
| 11 |
412121 |
HOSE |
1 |
|
|
|
| 12 |
GA553SP01 |
SPRING |
1 |
|
|
|
| 13 |
412130 |
HOSE |
1 |
|
|
|
| 14 |
GA553SC01 |
BOLT, FLANGE M6X1.0X16L |
1 |
|
|
|
| 15 |
BH121PP01 |
HOSE, NEGATIVE PRESSURE |
1 |
|
|
|
| 16 |
GA553SR04 |
CLIP∮7.5 |
1 |
|
|
|
| 17 |
R36901 |
CLIP |
2 |
|
|
|
| 18 |
GA555SC02 |
SCREW, AN HEAD |
2 |
|
|
|
| 19 |
GA553SR02 |
CLIP |
1 |
|
|
|
| 20 |
GA553PP02 |
HOSE |
1 |
|
|
|
| 21 |
412123 |
ORNAMENTAL SHIELD |
1 |
|
|
|
| 22 |
GA553RB02 |
WASHER |
1 |
|
|
|
| |
|
|
|
| |
|
|
|
| |
|
|
|
| |
|
|
|
|
|
|
|
|
|
|
|
|
|