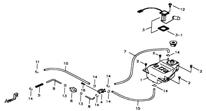
| 21 | FUEL TANK (MATERIAL : HDPE) | BH1 | |||||
|
|||||||
| ITEM NO. | PART NO. | DESCRIPTION | Q'TY | AMEND | NOTE | ||
| 01 | 401814 | TANK, FUEL | 1 | ||||
| 02 | GA555SC05 | BOLT, OUTLET M6X1.0X16L | 4 | ||||
| 03 | 401813 | GAUGE ASSY., FUEL LEVEL | 1 | ||||
| 03-1 | 401628 | GASKET | 1 | ||||
| 04 | GA5539902 | COCK ASSY., FUEL | 1 | ||||
| 05 | 401014 | SPRING 12X100X0.8 | 1 | ||||
| 06 | GA5539904 | FILTER, FUEL | 1 | ||||
| 07 | 412130 | HOSE | 1 | ||||
| 08 | 412108 | HOSE, NEGATIVE PRESSURE LOWER #7 | 1 | ||||
| 09 | 401012 | HOSE | 1 | ||||
| 10 | BH121PP01 | HOSE, NEGATIVE PRESSURE | 1 | ||||
| 11 | GA553SR04 | CLIP∮7.5 | 1 | ||||
| 12 | S07501 | BOLT,HEX HEAD | 4 | ||||
| 13 | R36901 | CLIP | 2 | ||||
| 14 | R36801 | CLIP ∮8.5 | 7 | ||||
| 15 | 412113 | HOSE | 1 | ||||
| 16 | GA553SC01 | BOLT, FLANGE M6X1.0X16L | 1 | ||||