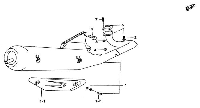
| 7 | MUFFLER | BH1 | |||||
|
|||||||
| ITEM NO. | PART NO. | DESCRIPTION | Q'TY | AMEND | NOTE | ||
| 01 | 426007 | BODY COMP., MUFFLER | 1 | ←616326 | |||
| 01-1 | GL507FE05 | COVER, MUFFLER | 1 | ||||
| 01-2 | GI5079902 | SCREW, SET MUFFLER COVER | 2 | ||||
| 02 | GA509SC05 | BOLT, FLANGE M6X20 | 1 | ||||
| 03 | GA504WS04 | WASHER, SPRING | 1 | ||||
| 04 | GA509NT01 | NUT, HEX. HEAD M6 | 1 | ||||
| 05 | GA509PK01 | GASKET, EXHAUST PIPE | 1 | ||||
| 06 | S21002 | BOLT, FLANGE | 2 | ||||
| 07 | GA509SC06 | STUD M6X25 | 1 | ||||