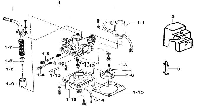
| 4 | CARBURETOR (VM 13) | BH1 | |||||
|
|||||||
| ITEM NO. | PART NO. | DESCRIPTION | Q'TY | AMEND | NOTE | ||
| 01 | 424026A | CARBURETOR ASSY. | 1 | ||||
| 01-1 | GA5089905 | ELEMENT ASSY., THERMO | 1 | ||||
| 01-10 | GA508CU13 | IDLE JET | 1 | ||||
| 01-11 | 424014 | MAIN NOZZLE | 1 | ||||
| 01-12 | GA508CU01 | MAIN JET M.J.60 | 1 | ||||
| 01-13 | 425016 | OIL CHECK VALVE B (LINEAR TYPE) | 1 | ||||
| 01-14 | 424018 | CARBURETTOR DRAIN TUBE | 1 | ||||
| 01-15 | 424031 | GASKET SET | 1 | ||||
| 01-16 | 424043 | CHAMBER SET, FLOAT | 1 | ||||
| 01-2 | GA508AL01 | NEEDLE, JET | 1 | ||||
| 01-3 | GA508FE05 | VALVE, NEEDLE | 1 | ||||
| 01-4 | GA5089907 | SCREW SET, AIR | 1 | ||||
| 01-5 | GA5089908 | SCREW SET, IDLE SPEED | 1 | ||||
| 01-6 | GA508PL10 | FLOAT | 1 | ||||
| 01-7 | 424080 | SPRING | 1 | ||||
| 01-8 | 424012 | SNAP RING C TYPE | 1 | ||||
| 01-9 | 424013 | VALVE, THROTTLE | 1 | ||||
| 02 | 424000 | FENDER, CARBURETOR | 1 | ||||
| 03 | 424048 | CLAMP | 1 | ||||