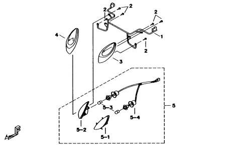
| ITEM NO. | PART NO. | DESCRIPTION | Q'TY | AMEND | NOTE |
|
||||||||
| 01 | 511704 | BRACKET SET, LIGHT, DECORATION | 1 | |||||||||||
| 02 | GA552SC11 | SCREW, TAPPING M4X16 | 6 | |||||||||||
| 03 | 511705 | LIGHT, DECORATION (L) | 1 | |||||||||||
| 04 | 511706 | LIGHT, DECORATION (R) | 1 | |||||||||||
| 05 | 511707 | LIGHT, COMP., DECORATION | 1 | |||||||||||
| 05-1 | 513913 | REFLECTOR (L.H.) | 1 | |||||||||||
| 05-2 | 513914 | REFLECTOR (R.H.) | 1 | |||||||||||
| 05-3 | 513912 | BULB | 2 | |||||||||||
| 05-4 | 513911 | SOCKET, LIGHT DECORATION | 1 | |||||||||||