| ITEM NO. | PART NO. | DESCRIPTION | Q'TY | AMEND | NOTE |
|
||||||||
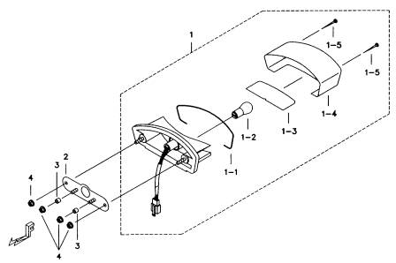
| 01 | 511803 | REAR LAMP ASSY. | 1 | |||||||||||
| 01-1 | 513908 | PACKING, RABBER | 1 | |||||||||||
| 01-2 | GF5180002 | BULB 12V, P21/5W | 1 | |||||||||||
| 01-3 | 513909 | PLATE, GLASS | 1 | |||||||||||
| 01-4 | 513910 | LENS, REAR LAMP | 1 | |||||||||||
| 01-5 | S46301 | SCREW,TAPPING | 2 | |||||||||||
| 02 | 511804 | BRKT, REAR LAMP | 1 | |||||||||||
| 03 | GA554BS05 | SPACER ∮6.5X8 | 2 | |||||||||||
| 04 | GA554NT04 | NUT, FLANGE M6xP1.0 | 4 | |||||||||||