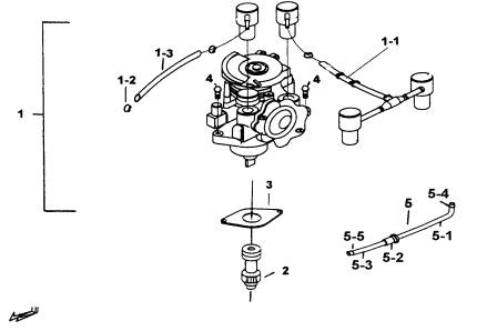
| ITEM NO. | PART NO. | DESCRIPTION | Q'TY | AMEND | NOTE |
|
||||||||
| 01 | 525251 | PUMP COMP., OIL | 1 | |||||||||||
| 01-1 | 425038 | THREE WAY CHECK VALVE ASSY. | 1 | |||||||||||
| 01-2 | R36501 | CLIP | 2 | |||||||||||
| 01-3 | GA605PP01 | HOSE OIL | 2 | |||||||||||
| 02 | GA508PL01 | GEAR, OIL PUMP DRIVEN | 1 | |||||||||||
| 03 | GA508PK01 | GASKET, OIL PUMP | 1 | |||||||||||
| 04 | S79501 | SCREW, SOCKET HEAD M5x16 | 2 | |||||||||||
| 05 | 525001 | CLEANER COMP., OIL | 1 | |||||||||||
| 05-1 | 425046 | HOSE | 1 | |||||||||||
| 05-2 | 425005 | CLEANER ASSY., OIL | 1 | |||||||||||
| 05-3 | 525002 | HOSE | 1 | |||||||||||
| 05-4 | R36801 | CLIP ∮8.5 | 3 | |||||||||||
| 05-5 | R50901 | CLIP ∮9.5 | 1 | |||||||||||