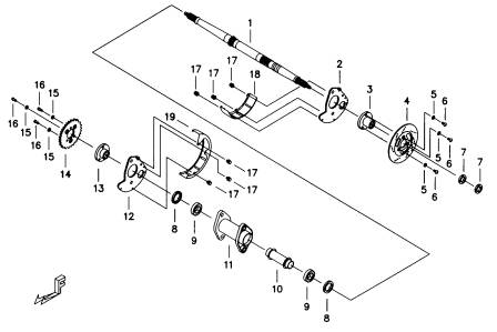
| ITEM NO. |
PART NO. |
DESCRIPTION |
Q'TY |
AMEND |
NOTE |
|
|
|
|
|
|
|
|
| 01 |
512801 |
REAR AXLE |
1 |
|
|
|
| 02 |
512812 |
HOLDER, PROTECTIVE COVER, LH. |
1 |
|
|
|
| 03 |
512810 |
BASE, BRAKE |
1 |
|
|
|
| 04 |
512802 |
DISC, BRAKE ∮180 |
1 |
|
|
|
| 05 |
GA556WS06 |
WASHER, SPRING 10.2X3.7X2.5t |
3 |
|
|
|
| 06 |
S72002 |
BOLT M10X1.25X16L |
3 |
|
|
|
| 07 |
N50702 |
NUT, SLOTTED M27X1.5 14t |
2 |
|
|
|
| 08 |
512807 |
OIL SEAL ∮40X∮55X7t |
2 |
|
|
|
| 09 |
512806 |
BEARING |
2 |
|
|
|
| 10 |
512800 |
REAR AXLE |
1 |
|
|
|
| 11 |
512808SG |
REAR AXLE FIX SEAT(SILVER) |
1 |
|
|
|
| 12 |
512813 |
HOLDER, PROTECTIVE COVER, RH. |
1 |
|
|
|
| 13 |
512811 |
FINAL DRIVE SPROCKET HOLDER |
1 |
|
|
|
| 14 |
520010 |
FINAL DRIVE SPROCKET 36T |
1 |
← |
|
|
| 14A |
520001 |
FINAL DRIVE SPROCKET 32T |
1 |
→ |
|
|
| 15 |
GA556WS04 |
SPRING WASHER 8.2X3.2X2t |
3 |
|
|
|
| 16 |
S21807 |
BOLT M8X1.0X20L |
3 |
|
|
|
| 17 |
S07504 |
BOLT,HEX HEAD M5X0.8X8L |
6 |
|
|
|
| 18 |
512803 |
PROTECTIVE COVER |
1 |
|
|
|
| 19 |
512809 |
PROTECTIVE COVER, REAR WHEEL |
1 |
|
|
|
|
|
|
|
|
|
|
|
|
|
|
|
|
|