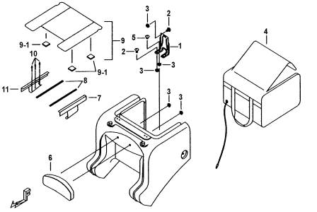
| ITEM NO. | PART NO. | DESCRIPTION | Q'TY | AMEND | NOTE |
|
||||||||
| 1 | 453029 | BRACKET | 1 | |||||||||||
| 10 | 453034 | RIVET | 6 | |||||||||||
| 11 | 453040 | BRACKET, FLAT BOARD COMP.(RH.) | 1 | |||||||||||
| 2 | GA555SC03 | SCREW, AN HEAD M6X16 | 4 | |||||||||||
| 3 | GA554NT04 | NUT, FLANGE M6xP1.0 | 8 | |||||||||||
| 4 | 440955 | THERMOSTATIC BAG | 1 | |||||||||||
| 5 | GA555SC02 | SCREW, AN HEAD | 2 | |||||||||||
| 6 | 413957 | SEAT COMP., BACK | 1 | |||||||||||
| 7 | 453039 | BRACKET, FLAT BOARD COMP.(LH.) | 1 | |||||||||||
| 8 | 453035 | ORNAMENTAL STRIP, REAR | 2 | |||||||||||
| 9 | 453041A | FLAT BOARD, CARGO BOX COMP. | 1 | |||||||||||
| 9-1 | GF514TH02 | CUSHION | 6 | |||||||||||