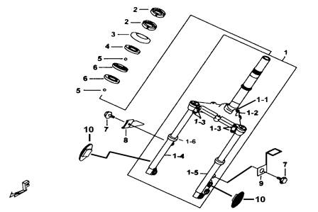
| ITEM NO. | PART NO. | DESCRIPTION | Q'TY | AMEND | NOTE |
|
||||||||
| 1 | 401674 | FORK COMP., FRONT | 1 | |||||||||||
| 10 | 412715 | REFLECTOR ASSY., SIDE | 2 | |||||||||||
| 1-1 | BH127PS04 | RACE, STEERING, INNER, LOWER | 1 | |||||||||||
| 1-2 | 412700 | CENTREL BAR ASSY. | 1 | |||||||||||
| 1-3 | S20004 | BOLT,FLANGE | 4 | |||||||||||
| 1-4 | 401972 | FORK COMP., FRONT RH. | 1 | |||||||||||
| 1-5 | 401971 | FORK COMP., FRONT LH. | 1 | |||||||||||
| 1-6 | 401876 | SEAL, OIL | 2 | |||||||||||
| 2 | N50501 | NUT, SLOTTED | 2 | |||||||||||
| 3 | BH127PS01 | WASHER | 1 | |||||||||||
| 4 | BH127PS02 | RACE, STEERING, INNER, UPPER | 1 | |||||||||||
| 5 | BH127FE01 | BALL | 44 | |||||||||||
| 6 | BH127PS03 | RACE, STEERING, OUTER | 2 | |||||||||||
| 7 | GA556SC01 | BOLT, FLANGE M6X1.0X12L | 2 | |||||||||||
| 8 | GI527PS02 | BRKT, CABLE, SPEEDOMETER | 1 | |||||||||||
| 9 | BH1279901 | BRKT, BRAKE HOSE | 1 | |||||||||||