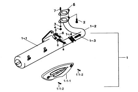
| ITEM NO. | PART NO. | DESCRIPTION | Q'TY | AMEND | NOTE |
|
||||||||
| 1 | 426136 | BODY COMP., MUFFLER | 1 | |||||||||||
| 1-1 | 426109 | BODY | 1 | |||||||||||
| 1-1-1 | 426037 | COVER, MUFFLER | 1 | |||||||||||
| 1-1-2 | GI5079902 | SCREW, SET MUFFLER COVER | 2 | |||||||||||
| 1-2 | 426110 | PIPE | 1 | |||||||||||
| 1-3 | S96803 | SCREW, SPECIAL | 1 | |||||||||||
| 1-4 | 426104 | WASHER | 1 | |||||||||||
| 2 | GA509SC05 | BOLT, FLANGE M6X20 | 1 | |||||||||||
| 3 | GA504WS04 | WASHER, SPRING | 1 | |||||||||||
| 4 | GA509NT01 | NUT, HEX. HEAD M6 | 1 | |||||||||||
| 5 | GA509PK01 | GASKET, EXHAUST PIPE | 1 | |||||||||||
| 6 | S70002 | BOLT, FLANGE | 2 | |||||||||||
| 7 | GA509SC06 | STUD M6X25 | 1 | |||||||||||
| 8 | W99005 | WASHER | 2 | |||||||||||