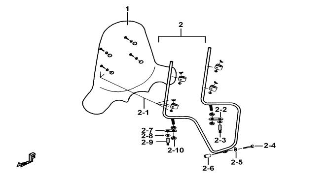
| 3101 | WIND-SHIELD(OPTION) | BK1-C | |||||
|
|||||||
| ITEM NO. | PART NO. | DESCRIPTION | Q'TY | AMEND | NOTE | ||
| 01 | 457029 | WIND-SHIELD | 1 | ||||
| 02 | 457041 | FIXED ROD SET | 1 | ||||
| 02-1 | 457046 | BLOT SET | 4 | ||||
| 02-10 | GA551NT04 | NUT, HEX. HEAD M8 | 4 | ||||
| 02-2 | 457026 | PLATE, RH. | 1 | ||||
| 02-3 | 457044 | SPACER, RH. | 1 | ||||
| 02-4 | S70611 | SCREW, SOCKET HEAD M6x50 | 1 | ||||
| 02-5 | W99605 | WASHER | 1 | ||||
| 02-6 | 457050 | SPACER | 1 | ||||
| 02-7 | 457027 | PLATE, LH. | 1 | ||||
| 02-8 | W99812 | WASHER 1.5t | 2 | ||||
| 02-9 | 457043 | SPACER, LH. | 1 | ||||