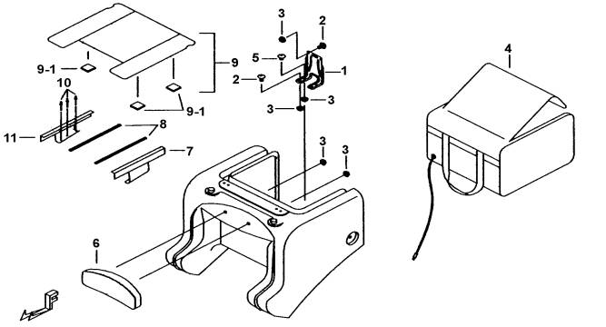
| 2402 | CARGO BOX(THERMOSTATIC BAG) | BK1-C | |||||
|
|||||||
| ITEM NO. | PART NO. | DESCRIPTION | Q'TY | AMEND | NOTE | ||
| 01 | 453029 | BRACKET | 1 | ||||
| 02 | GA555SC03 | SCREW, AN HEAD M6X16 | 4 | ||||
| 03 | GA554NT04 | NUT, FLANGE M6xP1.0 | 8 | ||||
| 04 | 440955 | THERMOSTATIC BAG (OPTION) | 1 | ||||
| 05 | GA555SC02 | SCREW, AN HEAD | 2 | ||||
| 06 | 413957 | SEAT COMP., BACK | 1 | ||||
| 07 | 453039 | BRACKET, FLAT BOARD COMP.(LH.) | 1 | ||||
| 08 | 453035 | ORNAMENTAL STRIP, REAR | 2 | ||||
| 09 | 453041A | FLAT BOARD, CARGO BOX COMP. | 1 | ||||
| 09-1 | GF514TH02 | CUSHION | 6 | ||||
| 10 | 453034 | RIVET | 6 | ||||
| 11 | 453040 | BRACKET, FLAT BOARD COMP.(RH.) | 1 | ||||