| 33 |
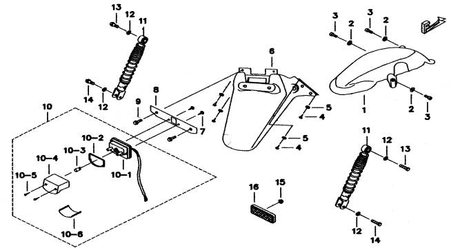
REAR FENDER |
|
BK1-C |
|
|
| |
|
|
|
|
|
|
|
| |
|
|
|
| |
|
|
|
| |
|
|
|
| |
|
|
|
| |
|
|
|
| |
|
|
|
| |
|
|
|
| |
|
|
|
| |
|
|
|
| |
|
|
|
| |
|
|
|
| |
|
|
|
| |
|
|
|
| |
|
|
|
| |
|
|
|
| |
|
|
|
| |
|
|
|
| ITEM NO. |
PART NO. |
DESCRIPTION |
Q'TY |
AMEND |
NOTE |
|
| 01 |
422000 |
GUARD, MUD |
1 |
|
|
|
| 02 |
GA556WS02 |
WASHER |
3 |
|
|
|
| 03 |
S70609 |
SCREW, SOCKET HEAD M6x16 |
3 |
|
|
|
| 04 |
GA552SC11 |
SCREW, TAPPING M4X16 |
4 |
|
|
|
| 05 |
GA552WS05 |
WASHER |
4 |
|
|
|
| 06 |
458013B |
FENDER, REAR, UPPER |
1 |
|
|
|
| 07 |
S57501 |
SCREW,OVAL HEAD, FLANGE M5X14 |
2 |
|
|
|
| 08 |
413314 |
BRACKET, LICENSE PLATE LAMP |
1 |
|
|
|
| 09 |
GA551SC09 |
BOLT, FLANGE M6X20 |
2 |
|
|
|
| 10 |
451035 |
LAMP, LICENSE PLATE |
1 |
|
|
|
| 10-1 |
451036 |
HOUSING, LAMP |
1 |
|
|
|
| 10-2 |
451037 |
GASKET |
1 |
|
|
|
| 10-3 |
400517 |
BULB 12V, 5W |
1 |
|
|
|
| 10-4 |
451039 |
LENS, LICENSE PLATE LAMP |
1 |
|
|
|
| 10-5 |
S60302 |
SCREW |
2 |
|
|
|
| 10-6 |
451040 |
COVER |
1 |
|
|
|
| 11 |
413311 |
ABSORBER ASSY., SHOCK, REAR |
2 |
|
|
|
| 12 |
GA556WS06 |
WASHER, SPRING
10.2X3.7X2.5t |
4 |
|
|
|
| 13 |
GA556SC03 |
BOLT, HEX. HEAD M10X1.25X40L |
2 |
|
|
|
| 14 |
GA556SC04 |
BOLT, HEX. HEAD 10X34 |
2 |
|
|
|
| 15 |
GA554NT04 |
NUT, FLANGE M6xP1.0 |
1 |
|
|
|
| 16 |
511802 |
REFLECTOR ASSY., REAR |
1 |
|
|
|
| |
|
|
|
| |
|
|
|
| |
|
|
|
| |
|
|
|
| |
|
|
|
|
|
|
|
|
|
|
|
|
|