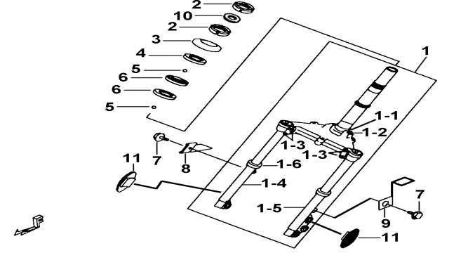
| 27 | FRONT FORK | BK1-C | |||||
|
|||||||
| ITEM NO. | PART NO. | DESCRIPTION | Q'TY | AMEND | NOTE | ||
| 01 | 412721 | FORK COMP., FRONT | 1 | ||||
| 01-1 | 414009 | RACE, STEERING, INNER, LOWER | 1 | ||||
| 01-2 | 412700 | CENTREL BAR ASSY. | 1 | ||||
| 01-3 | S20004 | BOLT,FLANGE M10X30 | 4 | ||||
| 01-4 | 401972 | FORK COMP., FRONT RH. | 1 | ||||
| 01-5 | 401971 | FORK COMP., FRONT LH. | 1 | ||||
| 01-6 | 401876 | SEAL, OIL | 2 | ||||
| 02 | N50501 | NUT, SLOTTED | 2 | ||||
| 03 | BH127PS01 | WASHER | 1 | ||||
| 04 | BH127PS02 | RACE, STEERING, INNER, UPPER | 1 | ||||
| 05 | BH127FE01 | BALL | 44 | ||||
| 06 | BH127PS03 | RACE, STEERING, OUTER | 2 | ||||
| 07 | GA556SC01 | BOLT, FLANGE M6X1.0X12L | 2 | ||||
| 08 | GI527PS02 | BRKT, CABLE, SPEEDOMETER | 1 | ||||
| 09 | BH1279901 | BRKT, BRAKE HOSE | 1 | ||||
| 10 | W99533 | WASHER | 1 | ||||
| 11 | 412715 | REFLECTOR ASSY., SIDE | 2 | ||||