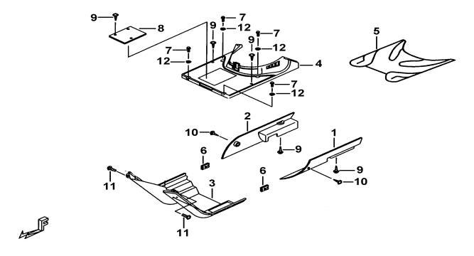
| 26 | REAR LEG SHIELD | BK1-C | |||||
|
|||||||
| ITEM NO. | PART NO. | DESCRIPTION | Q'TY | AMEND | NOTE | ||
| 01 | BH126PL01 | LEG SHIELD, SIDE, LH. | 1 | ||||
| 02 | BH126PL02 | LEG SHIELD, SIDE, RH. | 1 | ||||
| 03 | 401860A | LEG SHIELD, LOWER | 1 | ||||
| 04 | 401861 | LEG SHIELD, RAER | 1 | ||||
| 05 | 455012 | CUSHION, LEG SHIELD | 1 | ||||
| 06 | N31501 | NUT, SPRING M5 | 6 | ||||
| 07 | GA551SC09 | BOLT, FLANGE M6X20 | 4 | ||||
| 08 | 401862 | LID, BATTERY BOX | 1 | ||||
| 09 | S57501 | SCREW,OVAL HEAD, FLANGE M5X14 | 7 | ||||
| 10 | S51501 | SCREW,TAPPING M5X16 | 2 | ||||
| 11 | GA904SC26 | SCREW, SOCKET HEAD M6X16 | 2 | ||||
| 12 | GA556WS02 | WASHER | 4 | ||||