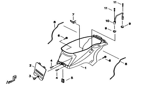
| 24 | FRAME COVER | BK1-C | |||||
|
|||||||
| ITEM NO. | PART NO. | DESCRIPTION | Q'TY | AMEND | NOTE | ||
| 01 | BH124PL01B | COVER, SIDE | 1 | ||||
| 02 | BH124PL04 | COVER, SMALL | 1 | ||||
| 03 | S96501 | BOLT, BATTERY BOX | 1 | ||||
| 04 | S51501 | SCREW,TAPPING M5X16 | 2 | ||||
| 05 | N31501 | NUT, SPRING M5 | 2 | ||||
| 06 | S57501 | SCREW,OVAL HEAD, FLANGE M5X14 | 2 | ||||
| 07 | 401657 | REED | 1 | ||||
| 08 | 453016 | ORNAMENTAL | 2 | ||||
| 09 | 453017 | RUBBER PLUG | 2 | ||||
| 10 | 412404 | HANDLING BAR | 1 | ||||
| 11 | S70806 | BOLT M8X1.25 | 2 | ||||