| 8 |
COOLING FAN |
|
BK1-C |
|
|
| |
|
|
|
|
|
|
|
| |
|
|
|
| |
|
|
|
| |
|
|
|
| |
|
|
|
| |
|
|
|
| |
|
|
|
| |
|
|
|
| |
|
|
|
| |
|
|
|
| |
|
|
|
| |
|
|
|
| |
|
|
|
| |
|
|
|
| |
|
|
|
| |
|
|
|
| |
|
|
|
| |
|
|
|
| ITEM NO. |
PART NO. |
DESCRIPTION |
Q'TY |
AMEND |
NOTE |
|
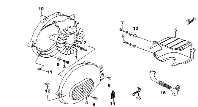
| 01 |
427044 |
FAN, COOLING |
1 |
|
|
|
| 02 |
S79602 |
SCREW, SOCKET HEAD M6x16 |
4 |
|
|
|
| 03 |
S70609 |
SCREW, SOCKET HEAD M6x16 |
4 |
|
|
|
| 04 |
GA608PL11 |
COWLING, FAN |
1 |
|
|
|
| 05 |
427002 |
COWLING, CYLINDER |
1 |
|
|
|
| 06 |
S71602 |
SCREW, SOCKET HEAD M6x40 |
1 |
|
|
|
| 07 |
S71604 |
SCREW, SOCKET HEAD M6x20 |
1 |
|
|
|
| 08 |
GA509SC02 |
SCREW, TAPPING M6x20 |
4 |
|
|
|
| 09 |
GA509WS05 |
WASHER 6X13X6 |
4 |
|
|
|
| 10 |
GE508PL14 |
CASE, FAN |
1 |
|
|
|
| 11 |
420009 |
SPACER |
1 |
|
|
|
| 12 |
GA509SC20 |
SCREW, TAPPING |
1 |
|
|
|
| 13 |
427006 |
WASHER |
1 |
|
|
|
| 14 |
GA501SR01 |
CLAMP |
1 |
|
|
|
| 15 |
427003 |
BATTERY RETAINER |
1 |
|
|
|
| 16 |
427001A |
HOT BLAST DUCT |
1 |
|
|
|
| |
|
|
|
| |
|
|
|
| |
|
|
|
| |
|
|
|
| |
|
|
|
| |
|
|
|
| |
|
|
|
| |
|
|
|
| |
|
|
|
| |
|
|
|
| |
|
|
|
|
|
|
|
|
|
|
|
|
|