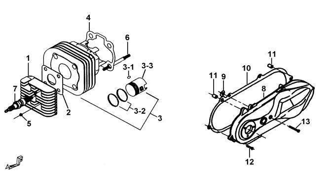
| 1 | CYLINDER AND CRANK CASE COVER | BK1-C | |||||
|
|||||||
| ITEM NO. | PART NO. | DESCRIPTION | Q'TY | AMEND | NOTE | ||
| 01 | GA504AL01 | HEAD, CYLINDER | 1 | ||||
| 02 | GA504PK01 | GASKET, CYLINDER HEAD | 1 | ||||
| 03 | GA5049911 | CYLINDER SET, WITH PISTON, PISTON RING AND CIR | 1 | ||||
| 03-1 | GA505SR01 | CIRCLIP ∮11 | 2 | ||||
| 03-2 | GA5059905 | RING SET, PISTON | 1 | ||||
| 03-3 | 423046 | PISTON | 1 | ||||
| 04 | GA504PK02 | GASKET, CYLINDER | 1 | ||||
| 05 | GA504NT01 | NUT, FLANGE M6 | 4 | ||||
| 06 | GA504SC01 | STUD M6X100 | 4 | ||||
| 07 | GI5010005 | SPARK PLUG BPR7HS | 1 | ||||
| 08 | GE501AL15 | COVER, CLUTCH | 1 | ||||
| 09 | GA504PK11 | WASHER | 1 | ||||
| 10 | GE501PK10 | GASKET, CLUTCH | 1 | ||||
| 11 | GA504PN01 | PIN, KNOCK 8.5x11x18 | 2 | ||||
| 12 | S70610 | SCREW, SOCKET HEAD M6x25 | 6 | ||||
| 13 | S70611 | SCREW, SOCKET HEAD M6x50 | 1 | ||||