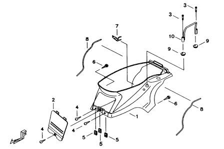
| ITEM NO. | PART NO. | DESCRIPTION | Q'TY | AMEND | NOTE |
|
||||||||
| 1 | BH124PL01B | COVER, SIDE | 1 | |||||||||||
| 10 | 412404 | HANDLING BAR | 1 | |||||||||||
| 2 | BH124PL04 | COVER, SMALL | 1 | |||||||||||
| 3 | S70806 | BOLT M8X1.25 | 2 | |||||||||||
| 4 | S51501 | SCREW,TAPPING M5X16 | 3 | |||||||||||
| 5 | N31501 | NUT, SPRING M5 | 3 | |||||||||||
| 6 | S57501 | SCREW,OVAL HEAD, FLANGE M5X14 | 2 | |||||||||||
| 7 | 401657 | REED | 1 | |||||||||||
| 8 | 453016 | ORNAMENTAL | 2 | |||||||||||
| 9 | 453017 | RUBBER PLUG | 2 | |||||||||||