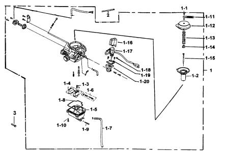
| ITEM NO. |
PART NO. |
DESCRIPTION |
Q'TY |
AMEND |
NOTE |
|
|
|
|
|
|
|
|
| 1 |
424084 |
CARBURETOR
ASSY. |
1 |
|
|
|
| 1-1 |
S30401 |
SCREW, OVAL HEAD
M4X8 |
4 |
|
|
|
| 1-10 |
S30402 |
SCREW,OVAL HEAD
M4X14 |
4 |
|
|
|
| 1-11 |
424054 |
BINDER |
1 |
|
|
|
| 1-12 |
424055 |
TOP COMP. |
1 |
|
|
|
| 1-13 |
424056 |
SPRING |
1 |
|
|
|
| 1-14 |
424057 |
VALVE PLATE SET |
1 |
|
|
|
| 1-15 |
424058 |
NEEDLE SET. JET |
1 |
|
|
|
| 1-16 |
424059 |
CAP. HOLDER |
1 |
|
|
|
| 1-17 |
424060 |
VALVE SET.
STARTER |
1 |
|
|
|
| 1-18 |
S30401 |
SCREW, OVAL HEAD
M4X8 |
2 |
|
|
|
| 1-19 |
424061 |
GASET, STARTER
VALVE |
1 |
|
|
|
| 1-2 |
400422 |
PISTON COMP.,
VACUUM |
1 |
|
|
|
| 1-20 |
424062 |
STARTER VALVE
SEAT |
1 |
|
|
|
| 1-21 |
424083 |
SCREW, IDLE
SPEED |
1 |
|
|
|
| 1-3 |
400096 |
VALVE SET,
FLOAT |
1 |
|
|
|
| 1-4 |
400098 |
FLOAT SET |
1 |
|
|
|
| 1-5 |
400099 |
CHAMBER SET,
FLOAT |
1 |
|
|
|
| 1-6 |
400100 |
SCREW, AIR
ADJUSTER |
1 |
|
|
|
| 1-7 |
400112 |
TUBE |
1 |
|
|
|
| 1-8 |
400404 |
GASKET SET |
1 |
|
|
|
| 1-9 |
400405 |
SCREW, OVAL
HEAD |
1 |
|
|
|
| 2 |
400429 |
HOSE, NEGATIVE
PRESSURE |
1 |
|
|
|
|
|
|
|
|
|
|
|
|
|
|
|
|
|