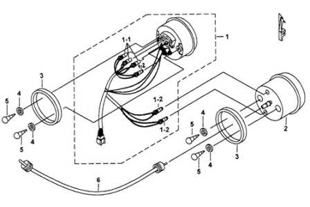
| ITEM NO. | PART NO. | DESCRIPTION | Q'TY | AMEND | NOTE |
|
||||||||
| 1 | 410195 | GAUGE ASSY., FUEL LEVEL | 1 | |||||||||||
| 1-1 | GA5520009 | BULB (12V, 1.7W) | 3 | |||||||||||
| 1-2 | 410154 | BULB, BLACK HEAD(12V,1.7W) | 3 | |||||||||||
| 2 | 457075 | SPEEDOMETER ASSY. | 1 | |||||||||||
| 3 | GE516RB01 | PACKING, RUBBER | 2 | |||||||||||
| 4 | W99602 | WASHER 6.5X12X1.0 | 4 | |||||||||||
| 5 | GA510SC01 | SCREW, SOCKET HEAD M6X16 | 4 | |||||||||||
| 6 | 402127 | CABLE ASSY., SPEEDOMETER | 1 | |||||||||||