| 27 |
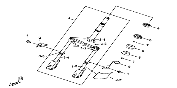
FRONT FORK |
|
BR1-D |
|
|
| |
|
|
|
|
|
|
|
| |
|
|
|
| |
|
|
|
| |
|
|
|
| |
|
|
|
| |
|
|
|
| |
|
|
|
| |
|
|
|
| |
|
|
|
| |
|
|
|
| |
|
|
|
| |
|
|
|
| |
|
|
|
| |
|
|
|
| |
|
|
|
| |
|
|
|
| |
|
|
|
| |
|
|
|
| ITEM NO |
PART NO |
DESCRIPTION |
Q'TY |
AMEND |
NOTE |
|
| 01 |
GA556SC01 |
BOLT, FLANGE M6X1.0X12L |
2 |
|
|
|
| 02 |
GI527PS02 |
BRKT, CABLE, SPEEDOMETER |
1 |
|
|
|
| 03 |
402116A |
FORK COMP., FRONT |
1 |
|
|
|
| 03-1 |
GF527PS01 |
RACE, STEERING, OVTER, LOWER |
1 |
|
|
|
| 03-2 |
401970 |
CENTREL BAR ASSY. |
1 |
|
|
|
| 03-3 |
S20004 |
BOLT,FLANGE M10X30 |
4 |
|
|
|
| 03-4 |
402177 |
FORK COMP., FRONT RH. |
1 |
|
|
|
| 03-5 |
402176 |
FORK COMP., FRONT LH. |
1 |
|
|
|
| 03-6 |
401876 |
SEAL, OIL |
2 |
|
|
|
| 03-7 |
459732 |
EMBLEM, FRONT FORK |
2 |
|
|
|
| 04 |
GA556NT01 |
NUT, SLOTTED |
1 |
|
|
|
| 05 |
GF527PS02 |
RACE, STEERING INNER, LOWER |
1 |
|
|
|
| 06 |
GA556PS03 |
RACE, STEERING, INNER, UPPER |
1 |
|
|
|
| 07 |
GA556FE01 |
BALL |
55 |
|
|
|
| 08 |
GA556PS04 |
RACE, STEERING, INNER |
1 |
|
|
|
| 09 |
410155 |
BRKT, BRAKE HOSE |
1 |
|
|
|
| |
|
|
|
| |
|
|
|
| |
|
|
|
| |
|
|
|
| |
|
|
|
| |
|
|
|
| |
|
|
|
| |
|
|
|
| |
|
|
|
| |
|
|
|
| |
|
|
|
|
|
|
|
|
|
|
|
|
|