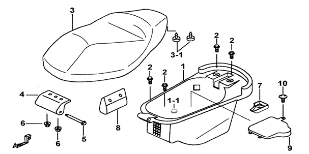
| 23 | SEAT | BR1-D | |||||
|
|||||||
| ITEM NO | PART NO | DESCRIPTION | Q'TY | AMEND | NOTE | ||
| 01 | 452075B | HELMET CASE ASSY. | 1 | ||||
| 01-1 | 452096 | RUBBER PLUG | 1 | ||||
| 02 | S20606 | BOLT, FLANGE M6X16 | 4 | ||||
| 03 | 452089 | SEAT SET | 1 | ||||
| 03-1 | 401904 | DAMPER, RUBBER | 2 | ||||
| 04 | BH123FE01 | BRKT, SEAT | 1 | ||||
| 05 | S47601 | SCREW, RECESSED PAN HEAD M6X68 | 1 | ||||
| 06 | GA554NT04 | NUT, FLANGE M6xP1.0 | 2 | ||||
| 07 | 452023 | OIL DRAIN CATCHER | 1 | ||||
| 08 | 421516 | PACKAGE, TOOL | 1 | ||||
| 09 | 452014 | CAP, HELMET CASE (BLACK) | 1 | ||||
| 10 | S45603 | SCREW, OVAL HEAD M6x10 | 1 | ||||