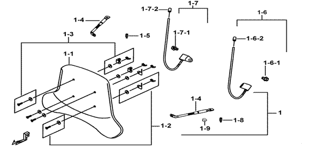
| 227 | WIND-SHIELD ASSY.(OPTION) | FBE-U | |||||
|
|||||||
| ITEM NO | PART NO | DESCRIPTION | Q'TY | AMEND | NOTE | ||
| 01 | 515120A | WIND-SHIELD ASSY. | 1 | ||||
| 01-1 | 457028 | WIND-SHIELD | 1 | ||||
| 01-2 | 514052 | BLOT SET | 2 | ||||
| 01-3 | 457046 | BLOT SET | 2 | ||||
| 01-4 | 513024 | BATTEN | 2 | ||||
| 01-5 | 513048 | SPACER, RH. | 1 | ||||
| 01-6 | 515115 | FIXED ROD, LH. | 1 | ||||
| 01-6-1 | S21808 | BOLT M8X1.25X12L | 1 | ||||
| 01-6-2 | GA524RB02 | BUSH, RUBBER | 1 | ||||
| 01-7 | 515116 | FIXED ROD, RH. | 1 | ||||
| 01-7-1 | S21808 | BOLT M8X1.25X12L | 1 | ||||
| 01-7-2 | GA524RB02 | BUSH, RUBBER | 1 | ||||
| 01-8 | 513049 | SPACER, LH. | 1 | ||||
| 01-9 | N01001 | NUT M10X1.25 | 2 | ||||