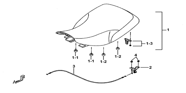
| 224 | SEAT | FBE-U | |||||
|
|||||||
| ITEM NO | PART NO | DESCRIPTION | Q'TY | AMEND | NOTE | ||
| 01 | 512318 | SEAT SET | 1 | ||||
| 01-1 | 515019 | DAMPER, RUBBER (FRONT) | 2 | ||||
| 01-2 | 515022 | DAMPER, RUBBER (REAR) | 2 | ||||
| 01-3 | 515020 | HOOK | 1 | ||||
| 02 | 511933 | LOCK SET, SEAT | 1 | ||||
| 03 | 511934 | CABLE, LOCK SET, SEAT | 1 | ←002049 | |||
| 03A | 512308 | CABLE, LOCK SET, SEAT | 1 | 002050→ | |||
| 04 | S21605 | BOLT, FLANGE M6X10 | 2 | ||||