| 223 |
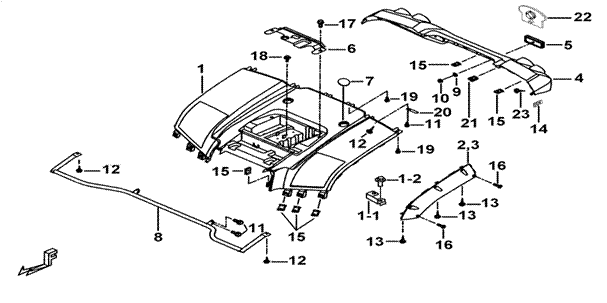
REAR BODY COVER |
|
FBE-U |
|
|
| |
|
|
|
|
|
|
|
| |
|
|
|
| |
|
|
|
| |
|
|
|
| |
|
|
|
| |
|
|
|
| |
|
|
|
| |
|
|
|
| |
|
|
|
| |
|
|
|
| |
|
|
|
| |
|
|
|
| |
|
|
|
| |
|
|
|
| |
|
|
|
| |
|
|
|
| |
|
|
|
| |
|
|
|
| ITEM NO |
PART NO |
DESCRIPTION |
Q'TY |
AMEND |
NOTE |
|
| 01 |
514438E |
REAR BODY COVER COMP. |
1 |
|
|
|
| 01-1 |
514417 |
BRKT |
1 |
|
|
|
| 01-2 |
S07601 |
BOLT, FLANGE M6X16 (Dark Green) |
1 |
|
|
|
| 01A |
514438WE |
REAR BODY COVER COMP. (CAMO) |
1 |
|
|
|
| 02 |
514401 |
REAR FENDER SIDE RAIL, LH. |
1 |
|
|
|
| 03 |
514402 |
REAR FENDER SIDE RAIL, RH. |
1 |
|
|
|
| 04 |
514403 |
REAR BUMPER |
1 |
|
|
|
| 05 |
511802 |
REFLECTOR ASSY., REAR |
2 |
|
|
|
| 06 |
514413 |
BATTERY FIXED |
1 |
|
|
|
| 07 |
512425 |
CARRIER COVER |
2 |
|
OPTION |
|
| 08 |
514405 |
BRKT, REAR BODY COVER |
1 |
|
|
|
| 09 |
W99605 |
WASHER |
2 |
|
|
|
| 10 |
GA554NT04 |
NUT, FLANGE M6xP1.0 |
2 |
|
|
|
| 11 |
GA555SC05 |
BOLT, OUTLET M6X1.0X16L |
6 |
|
|
|
| 12 |
S57501 |
SCREW,OVAL HEAD, FLANGE M5X14 |
4 |
|
|
|
| 13 |
GA552SC11 |
SCREW, TAPPING M4X16 |
6 |
|
|
|
| 14 |
514425 |
BRACKET |
2 |
|
|
|
| 15 |
N32601 |
NUT, SPRING |
12 |
|
|
|
| 16 |
S41502 |
BOLT M5X16 |
4 |
|
|
|
| 17 |
S20801 |
BOLT, FLANGE M8X20 |
2 |
|
|
|
| 18 |
S25602 |
BOLT M6X16L |
1 |
|
|
|
| 19 |
S07601 |
BOLT, FLANGE M6X16 (Dark Green) |
4 |
|
|
|
| 20 |
514410 |
CLAMP |
2 |
|
|
|
| 21 |
514411 |
CONNECTOR |
2 |
|
|
|
| 22 |
514418 |
COVER |
1 |
|
|
|
| 23 |
S50402 |
SCREW,TAPPING M4X10 |
2 |
|
|
|
| |
|
|
|
|
|
|
|
|
|
|
|
|
|