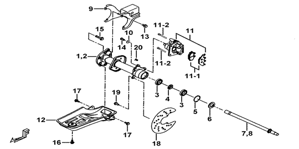
| 218 | REAR AXLE | FBE-U | |||||
|
|||||||
| ITEM NO | PART NO | DESCRIPTION | Q'TY | AMEND | NOTE | ||
| 01 | 512837 | HOUSING, REAR AXLE LH. | 1 | ||||
| 02 | 512838 | HOUSING, REAR AXLE RH. | 1 | ||||
| 03 | 512834 | BEARING | 4 | ||||
| 04 | 512841 | SPACER | 2 | ||||
| 05 | R01902 | C CLIP | 2 | ||||
| 06 | 512840 | OIL SEAL | 2 | ||||
| 07 | 512863 | REAR AXLE(LH.) | 1 | ||||
| 08 | 512864 | REAR AXLE(RH.) | 1 | ||||
| 09 | 512839 | BALL MOUNT | 1 | ||||
| 10 | GA556WS06 | WASHER, SPRING 10.2X3.7X2.5t | 2 | ||||
| 11 | 514307 | CALIPER, REAR (RH.) | 1 | ||||
| 11-1 | 515050 | PAD | 1 | ||||
| 11-2 | 515172 | PIN | 2 | ||||
| 12 | 511625 | REAR FORK PROTECIVE COVER | 1 | ||||
| 13 | S21004 | BOLT, FLANGE | 2 | ||||
| 14 | S21004 | BOLT, FLANGE | 4 | ||||
| 15 | S21010 | BOLT | 10 | ||||
| 16 | S25602 | BOLT M6X16L | 1 | ||||
| 17 | S70601 | SCREW, SOCKET HEAD M6X45 | 2 | ||||
| 18 | 512844 | PROTECTIVE COVER | 1 | ||||
| 19 | GA555SC02 | SCREW, AN HEAD | 3 | ||||
| 20 | 512845 | RUBBER PLUG | 2 | ||||