| 212 |
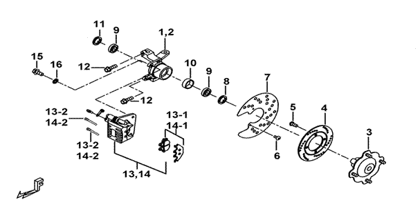
STEERING KNUCKLE |
|
FBE-U |
|
|
| |
|
|
|
|
|
|
|
| |
|
|
|
| |
|
|
|
| |
|
|
|
| |
|
|
|
| |
|
|
|
| |
|
|
|
| |
|
|
|
| |
|
|
|
| |
|
|
|
| |
|
|
|
| |
|
|
|
| |
|
|
|
| |
|
|
|
| |
|
|
|
| |
|
|
|
| |
|
|
|
| |
|
|
|
| ITEM NO |
PART NO |
DESCRIPTION |
Q'TY |
AMEND |
NOTE |
|
| 01 |
513374 |
KNUCKLE, STEERING, LH |
1 |
|
|
|
| 02 |
513375 |
KNUCKLE, STEERING, RH |
1 |
|
|
|
| 03 |
512958 |
HUB, FRONT WHEEL |
2 |
|
|
|
| 04 |
513420Y |
DISC, BRAKE 200mm |
2 |
|
|
|
| 05 |
S72005 |
SCREW, SOCKET M10 |
8 |
|
|
|
| 06 |
GA555SC02 |
SCREW, AN HEAD |
6 |
|
|
|
| 07 |
512944 |
PROTECTIVE COVER |
2 |
|
|
|
| 08 |
513325 |
OIL SEAL, OUTER |
2 |
|
|
|
| 09 |
513350 |
BEARING |
4 |
|
|
|
| 10 |
513324 |
SPACER |
2 |
|
|
|
| 11 |
513367 |
OIL SEAL, INNER |
2 |
|
|
|
| 12 |
S20021 |
BOLT |
4 |
|
|
|
| 13 |
513523 |
CALIPER ASSY., FRONT, LH |
1 |
|
|
|
| 13-1 |
515050 |
PAD |
1 |
|
|
|
| 13-2 |
515172 |
PIN |
2 |
|
|
|
| 14 |
513524 |
CALIPER ASSY., FRONT, RH |
1 |
|
|
|
| 14-1 |
515050 |
PAD |
1 |
|
|
|
| 14-2 |
515172 |
PIN |
2 |
|
|
|
| 15 |
S21809 |
BOLT M8X1.25X18L |
4 |
|
|
|
| 16 |
GA556WS04 |
SPRING WASHER 8.2X3.2X2t |
4 |
|
|
|
| |
|
|
|
| |
|
|
|
| |
|
|
|
| |
|
|
|
| |
|
|
|
| |
|
|
|
| |
|
|
|
|
|
|
|
|
|
|
|
|
|