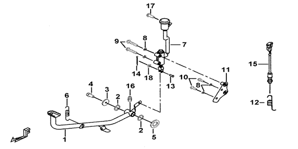
| 209 | BRAKE PEDAL | FBE-U | |||||
|
|||||||
| ITEM NO | PART NO | DESCRIPTION | Q'TY | AMEND | NOTE | ||
| 01 | 514118 | BRAKE PEDAL | 1 | ||||
| 02 | 514103 | O RING | 2 | ||||
| 03 | W99824 | WASHER 8.5 | 1 | ||||
| 04 | S20817 | BOLT, FLANGE M8X16 | 1 | ||||
| 05 | W99702 | WASHER | 1 | ||||
| 06 | 514119 | SPRING | 1 | ||||
| 07 | 514115 | MASTER CYLINDER ASSY., PEDAL | 1 | ||||
| 08 | GA556WS04 | SPRING WASHER 8.2X3.2X2t | 4 | ||||
| 09 | S20804 | BOLT, FLANGE | 2 | ||||
| 10 | S20814 | BOLT, FLANGE M8X1.25X20L | 2 | ||||
| 11 | 514121 | BRACKET, MASTER CYLINDER, PEDAL | 1 | ||||
| 12 | 514123 | SPRING | 1 | ||||
| 13 | P31701 | PIN | 1 | ||||
| 14 | P10102 | PIN 1.5X20 | 1 | ||||
| 15 | 514109 | SWITCH, BRAKE LAMP | 1 | ||||
| 16 | S96604 | GREASE NIPPLE | 1 | ||||
| 17 | S20611 | BOLT, HEX HEAD M6X20 | 1 | ||||
| 18 | W99810 | WASHER | 1 | ||||