| 207 |
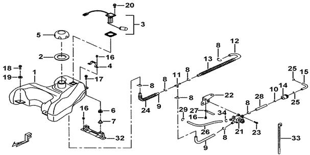
FUEL TANK |
|
|
FBE-U |
|
|
| |
|
|
|
|
|
|
|
| |
|
|
|
| |
|
|
|
| |
|
|
|
| |
|
|
|
| |
|
|
|
| |
|
|
|
| |
|
|
|
| |
|
|
|
| |
|
|
|
| |
|
|
|
| |
|
|
|
| |
|
|
|
| |
|
|
|
| |
|
|
|
| |
|
|
|
| |
|
|
|
| |
|
|
|
| ITEM NO |
PART NO |
DESCRIPTION |
Q'TY |
AMEND |
NOTE |
|
| 01 |
512143 |
FUEL TANK ASSY. |
1 |
|
|
|
| 02 |
512125 |
ORNAMENT, FUEL TANK |
1 |
|
|
|
| 03 |
512147 |
GAUGE ASSY., FUEL LEVEL |
1 |
←012037 |
|
|
| 03A |
512198 |
GAUGE ASSY., FUEL LEVEL |
1 |
012038→ |
|
|
| 04 |
512123 |
BRACKET, SEAT, FRONT |
1 |
|
|
|
| 05 |
512161 |
FUEL CAP |
1 |
|
|
|
| 06 |
512120 |
CUSHION |
2 |
|
|
|
| 07 |
512119 |
SPACER |
2 |
|
|
|
| 08 |
R40201 |
CLIP |
7 |
|
|
|
| 09 |
512157 |
HOSE |
2 |
|
|
|
| 10 |
R36901 |
CLIP |
1 |
|
|
|
| 11 |
512135 |
THREE WAY TUBE UNIT |
1 |
|
|
|
| 12 |
512158 |
HOSE |
1 |
|
|
|
| 13 |
512137 |
SPRING 250L |
1 |
|
|
|
| 14 |
412182 |
FILTER, FUEL |
1 |
|
|
|
| 15 |
412174 |
HOSE, FUEL |
1 |
|
|
|
| 16 |
GA556SC01 |
BOLT, FLANGE M6X1.0X12L |
5 |
|
|
|
| 17 |
S20802 |
BOLT, FLANGE M8X30L |
2 |
|
|
|
| 18 |
S20801 |
BOLT, FLANGE M8X20 |
2 |
|
|
|
| 19 |
W99005 |
WASHER 2t |
2 |
|
|
|
| 20 |
S07501 |
BOLT,HEX HEAD |
4 |
←012037 |
|
|
| 20A |
S45502 |
SCREW , OVAL HEAD |
4 |
012038→ |
|
|
| 21 |
512133 |
COCK ASSY., FUEL |
1 |
|
|
|
| 22 |
512130 |
BRACKET |
1 |
|
|
|
| 23 |
GA555SC05 |
BOLT, OUTLET M6X1.0X16L |
2 |
|
|
|
| 24 |
512138 |
SPRING |
1 |
|
|
|
| 25 |
R36801 |
CLIP ∮8.5 |
2 |
|
|
|
| 26 |
512159 |
HOSE |
1 |
|
|
|
| 27 |
514410 |
CLAMP |
1 |
|
|
|
| 28 |
512160 |
HOSE |
1 |
|
|
|
| 29 |
R40601 |
CLIP |
1 |
|
|
|
| 32 |
512122 |
BRACKET, FUEL TANK |
1 |
|
|
|
| 33 |
GA510SR01 |
CLAMP L150 |
1 |
|
|
|
| 34 |
R40301 |
CLIP |
1 |
|
|
|
|
|
|
|
|
|
|
|