| 204 |
FRAME |
|
|
FBE-U |
|
|
| |
|
|
|
|
|
|
|
| |
|
|
|
| |
|
|
|
| |
|
|
|
| |
|
|
|
| |
|
|
|
| |
|
|
|
| |
|
|
|
| |
|
|
|
| |
|
|
|
| |
|
|
|
| |
|
|
|
| |
|
|
|
| |
|
|
|
| |
|
|
|
| |
|
|
|
| |
|
|
|
| |
|
|
|
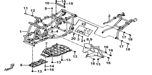
| ITEM NO |
PART NO |
DESCRIPTION |
Q'TY |
AMEND |
NOTE |
|
| 01 |
511954 |
MAIN FRAME |
1 |
|
|
|
| 02 |
511987 |
REAR FRAME |
1 |
|
|
|
| 03 |
GA556WS04 |
SPRING WASHER 8.2X3.2X2t |
2 |
|
|
|
| 04 |
S20004 |
BOLT,FLANGE M10X30 |
1 |
|
|
|
| 05 |
GA501NT01 |
NUT, FLANGE M10 |
1 |
|
|
|
| 06 |
511925 |
PROTECTOR, FRONT (PLASTIC) |
1 |
|
|
|
| 07 |
511926 |
PROTECTOR, REAR(PLASTIC) |
1 |
|
|
|
| 08 |
511948 |
FRONT INTERNAL FENDER, LH |
1 |
←012585 |
|
|
| 08A |
511993 |
FRONT INTERNAL FENDER, LH. |
1 |
012586→ |
|
|
| 09 |
511949 |
FRONT INTERNAL FENDER, RH |
1 |
←012585 |
|
|
| 09A |
511994 |
FRONT INTERNAL FENDER, RH. |
1 |
012586→ |
|
|
| 10 |
511950 |
SEAT STEADY, FRONT |
1 |
|
|
|
| 11 |
511945 |
PIN, STEERING LOCK |
1 |
←006349 |
|
|
| 11A |
511953 |
PIN, STEERING LOCK |
1 |
006350→ |
|
|
| 12 |
511946 |
SPRING, STEERING LOCK |
1 |
|
|
|
| 13 |
S25602 |
BOLT M6X16L |
8 |
|
|
|
| 14 |
GA554BS02 |
SPACER |
2 |
|
|
|
| 15 |
GA555SC05 |
BOLT, OUTLET M6X1.0X16L |
2 |
|
|
|
| 16 |
S07601 |
BOLT, FLANGE M6X16 (Dark Green) |
10 |
|
|
|
| 17 |
GA556WS06 |
WASHER, SPRING 10.2X3.7X2.5t |
4 |
|
|
|
| 18 |
S21007 |
BOLT M10X1.25X20 |
2 |
|
|
|
| 19 |
S21011 |
BOLT,FLANGE M10X28L |
2 |
|
|
|
| 20 |
511936 |
ENGINE FIXED |
1 |
|
|
|
| 21 |
S21809 |
BOLT M8X1.25X18L |
2 |
|
|
|
| 22 |
515301A |
MUFFLER BRACKET REPAIR |
1 |
|
REPAIR |
|
| |
|
|
|
| |
|
|
|
|
|
|
|
|
|
|
|
|
|