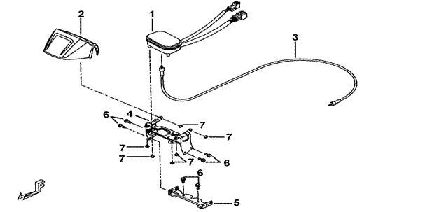
| 20101 | SPEEDOMETER ASSY. (MECHANICAL) (2) | FBE-U | |||||
|
|||||||
| ITEM NO | PART NO | DESCRIPTION | Q'TY | AMEND | NOTE | ||
| 01 | 512643 | SPEEDOMETER ASSY.(MECHANICAL) | 1 | ||||
| 02 | 513102 | SPEEDOMETER STEADY | 1 | ||||
| 03 | 512630 | CABLE, SPEEDOMETER | 1 | ||||
| 04 | 512628 | BRACKET ASSY., UPPER | 1 | ||||
| 05 | 512636 | BRACKET ASSY., LOWER | 1 | ||||
| 06 | GA555SC05 | BOLT, OUTLET M6X1.0X16L | 6 | ||||
| 07 | S57501 | SCREW,OVAL HEAD, FLANGE M5X14 | 7 | ||||