| 201 |
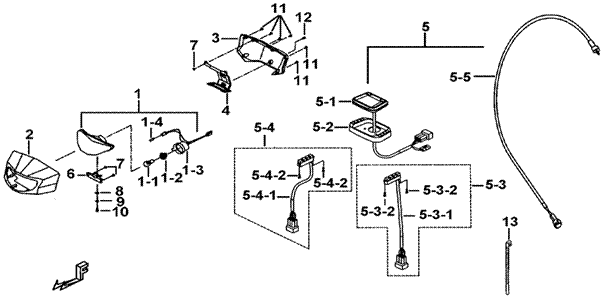
SPEEDOMETER ASSY. (1) |
|
FBE-U |
|
|
| |
|
|
|
|
|
|
|
| |
|
|
|
| |
|
|
|
| |
|
|
|
| |
|
|
|
| |
|
|
|
| |
|
|
|
| |
|
|
|
| |
|
|
|
| |
|
|
|
| |
|
|
|
| |
|
|
|
| |
|
|
|
| |
|
|
|
| |
|
|
|
| |
|
|
|
| |
|
|
|
| |
|
|
|
| ITEM NO |
PART NO |
DESCRIPTION |
Q'TY |
AMEND |
NOTE |
|
| 01 |
511723 |
HEAD LAMP ASSY. # 3 |
1 |
|
|
|
| 01-1 |
GA5520019 |
BULB 12V, 35/35W |
1 |
|
|
|
| 01-2 |
513921 |
STAY, MOUNTION |
1 |
|
|
|
| 01-3 |
514076 |
SOCKET COMP. |
1 |
|
|
|
| 01-4 |
400517 |
BULB 12V, 5W |
1 |
|
|
|
| 02 |
513103 |
COVER, HANDLE BAR, FRONT |
1 |
|
|
|
| 02A |
513103W |
COVER, HANDLE BAR, FRONT(CAMO) |
1 |
|
|
|
| 03 |
513107 |
COVER, HANDLE BAR, REAR |
1 |
|
|
|
| 04 |
512617 |
BRACKET |
1 |
|
|
|
| 05 |
512620 |
SPEEDOMETER ASSY. (DIGITAL) |
1 |
|
|
|
| 05-1 |
515039 |
LCD PANEL |
1 |
|
|
|
| 05-2 |
515040 |
CHASSIS |
1 |
|
|
|
| 05-3 |
515190 |
SHIFT POSITION INDICATOR COMP. |
1 |
|
|
|
| 05-3-1 |
515041 |
SHIFT POSITION INDICATOR |
1 |
|
|
|
| 05-3-2 |
S61201 |
SCREW, TAPPING |
2 |
|
|
|
| 05-4 |
515191 |
FUNCTION INDICATOR COMP. |
1 |
|
|
|
| 05-4-1 |
515042 |
FUNCTION INDICATOR |
1 |
|
|
|
| 05-4-2 |
S61201 |
SCREW, TAPPING |
2 |
|
|
|
| 05-5 |
514084 |
CABLE, SPEEDOMETER |
1 |
|
|
|
| 06 |
511722 |
BRACKET |
1 |
|
|
|
| 07 |
S57501 |
SCREW,OVAL HEAD, FLANGE M5X14 |
4 |
|
|
|
| 08 |
GA552WS05 |
WASHER |
1 |
|
|
|
| 09 |
W10501 |
SPRING WASHER |
1 |
|
|
|
| 10 |
S13502 |
SCREW,CROSS RECESSED,PAN HEAD
M5X10 |
1 |
|
|
|
| 11 |
GA552SC11 |
SCREW, TAPPING M4X16 |
6 |
|
|
|
| 12 |
GA555SC02 |
SCREW, AN HEAD |
1 |
|
|
|
| 13 |
GA510SR02 |
CLAMP L200 |
4 |
|
|
|
|
|
|
|
|
|
|
|