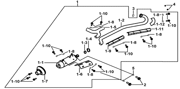
| 116 | MUFFLER ASSY. | FBE-U | |||||
|
|||||||
| ITEM NO | PART NO | DESCRIPTION | Q'TY | AMEND | NOTE | ||
| 01 | 924768 | MUFFLER ASSY. | 1 | ||||
| 01-1 | 924820 | BODY COMP, MUFFLER | 1 | ||||
| 01-10 | S20603 | BOLT, FLANGE M6X12 | 15 | ||||
| 01-11 | 923015 | PROTECTOR COVER, EXHAUST PIPE | 1 | ||||
| 01-12 | 923292 | PROTECTOR COVER | 1 | ||||
| 01-2 | 924823 | EXHAUST PIPE | 1 | ||||
| 01-3 | 924824 | GASKET, PLUMBAGO | 1 | ||||
| 01-4 | 924825 | CLAMP | 1 | ||||
| 01-5 | 924732 | PROTECTOR COVER "Y" | 1 | ||||
| 01-6 | 923016 | PROTECTOR COVER, MUFFLER | 1 | ||||
| 01-7 | 924821 | PROTECTOR COVER | 1 | ||||
| 01-8 | W99506 | WASHER | 12 | ||||
| 01-9 | 923286 | PROTECTOR COVER, EXHAUST PIPE | 1 | ||||
| 02 | S20814 | BOLT, FLANGE M8X1.25X20L | 2 | ||||
| 03 | 924296 | GASKET, EXHAUST PIPE | 1 | ||||
| 04 | N10801 | NUT, FLANGE 8mm | 2 | ||||
| 05 | GA556WS04 | SPRING WASHER 8.2X3.2X2t | 2 | ||||