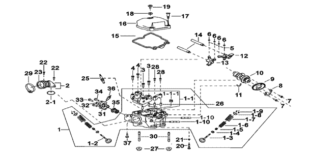
| 102 | HEAD ASSY, CYLINDER | FBE-U | |||||
|
|||||||
| ITEM NO | PART NO | DESCRIPTION | Q'TY | AMEND | NOTE | ||
| 01 | 924602 | HEAD ASSY., CYLINDER | 1 | ||||
| 01-1 | 924000A | HEAD COMP., CYLINDER | 1 | ||||
| 01-10 | S95808 | STUD M8X38 | 2 | ||||
| 01-1-1 | 924336 | SCREW | 1 | ||||
| 01-2 | 924020 | VALVE, INTAKE | 2 | ||||
| 01-3 | 924021 | VALVE, EXHAUST | 2 | ||||
| 01-4 | 924023 | LOWER CUP | 4 | ||||
| 01-5 | 924024 | SEAL, VALVE STEM | 4 | ||||
| 01-6 | 924025 | SPRING, VALVE, INNER | 4 | ||||
| 01-7 | 924026 | SPRING, VALVE, OUTER | 4 | ||||
| 01-8 | 924027 | UPPER CUP | 4 | ||||
| 01-9 | 400093 | COTTER, VALVE | 8 | ||||
| 02 | 924676 | PIPE ASSY, INTAKE | 1 | ||||
| 02-1 | 924076 | O-RING Φ2x41.5 | 1 | ||||
| 03 | S20614 | BOLT, FLANGE M6X60 | 2 | ||||
| 04 | S20615 | BOLT, FLANGE M6X50 | 2 | ||||
| 05 | S06501 | BOLT,ADJUSTING | 4 | ||||
| 06 | N03501 | NUT, HEX. | 4 | ||||
| 07 | S99605 | BOLT M6X12 | 2 | ||||
| 08 | 924031 | FIXING PLATE | 1 | ||||
| 09 | 924036 | TIMING SPROCKET 34T GB-69 | 1 | ||||
| 10 | 924305 | CAM SHAFT SET | 1 | ||||
| 11 | 924032 | “C” RING | 1 | ||||
| 12 | 924033 | ARM, VALVE ROCKER, EX | 1 | ||||
| 13 | 924034 | ARM, VALVE ROCKER, IN | 1 | ||||
| 14 | 924035 | PIN, ROCKER ARM AXLE | 2 | ||||
| 15 | 924016 | GASKET, CYLINDER HEAD | 1 | ||||
| 16 | 924017 | COVER, HEAD CYLINDER | 1 | ||||
| 17 | 924019 | BOLT M7X31 | 2 | ||||
| 18 | 924297 | GASKET | 1 | ||||
| 19 | 924018 | BOLT M7X23.5 | 1 | ||||
| 20 | S96806 | BOLT, CAM CHAIN TENSIONER | 1 | ||||
| 21 | W99818 | GASKET | 1 | ||||
| 22 | S24605 | BOLT,FLANGE M6X25 | 2 | ||||
| 23 | 924604 | RUBBER TUBE | 1 | ||||
| 25 | 924090 | SPARK PLUG (NGK CR7E) | 1 | ||||
| 26 | P40803 | PIN, DOWEL | 4 | ||||
| 27 | N10801 | NUT, FLANGE 8mm | 2 | ||||
| 28 | S20616 | BOLT, FLANGE M6X40 | 2 | ||||
| 29 | R66602 | CLAMP | 2 | ||||
| 30 | S95807 | STUD | 2 | ||||
| 31 | 924088 | THERMOSTAT COVER | 1 | ||||
| 32 | 925115 | WASHER | 1 | ||||
| 33 | S96605 | BOLT, FLANGE | 1 | ||||
| 34 | S24616 | BOLT, FLANGE M6X20 | 2 | ||||
| 35 | 924294 | THERMOSTAT | 1 | ||||
| 36 | 924089 | THERMISTOR M6X12L | 1 | ||||
| 37 | S77601 | BOLT, FLANGE | 1 | ||||